Py Luck
Overview 
Electrical Metallic Tubing is light gauge steel raceway used to protect wiring from physical damage and fire. It shields electrical fields emitted by the wiring and acts as a ground. The thick coating of zinc galvanization on the interior and exterior of the conduit provides excellent corrosion resistance from environmental, chemical and mechanical degradation.
Electrical metallic tubing (EMT), sometimes called thin-wall, is commonly used instead of galvanized rigid conduit (GRC), as it is less costly and lighter than GRC. Electrical Metallic Tubing itself may not be threaded, but can be used with threaded fittings that clamp to it. Lengths of conduit are connected to each other and to equipment with clamp-type fittings. Like Galvanized Rigid Conduit, Electrical metallic tubing is more common in commercial and industrial buildings.

Technical Specification
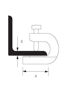
| Type | A | B |
| 1S | 25 | 1-12 |
| 1 | 33 | 1-16 |
| 1W | 33 | 9-24 |
| 2W | 42 | 17-32 |
| 3W | 48 | 17-45 |
| 7W | 45 | 40-70 |
Product Feature
High Corrosion Resistance
Pure zinc coating on the exterior wall and stoved epoxy resin finish on the inside protects white conduit from corrosion, even by harsh chemicals and sea air.
Easy and Fast Installation
Precise, sharp threads cut by automated machinery mean fast and easy installation. Precise thread also makes our conduit virtually moisture-tight.
Uniform Quality
Flat steel is rolled, zinc - coated and threaded in one continuous automated process for uniform high quality.